美以突袭伊朗,开心果会涨价吗?
据海关统计数据显示,2025年,伊朗是我国开心果和冻带鱼的第一大进口国。
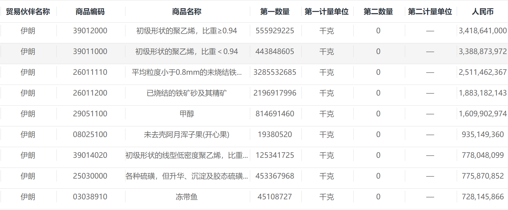
据海关统计数据显示,2025年,中国与伊朗进口贸易总额达到217.24亿元人民币。 财闻注意到,中伊贸易中,中国从伊朗进口商品主要为石油化工类产品以及农产品。
其中,两种规格的初级形状聚乙烯(比重≥0.94,比重<0.94)为进口贸易的前两位,2025年我国共计向伊朗进口55.59万吨和44.38万吨,金额分别达到34.19亿元人民币和33.89亿元人民币。值得注意的是,伊朗也是我国在上述单一产品中第五和第三大进口国。

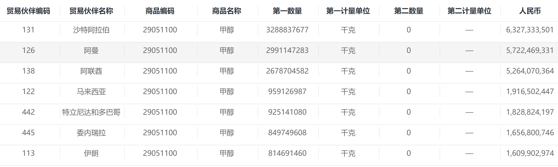
此外,伊朗还是2025年我国甲醇的主要进口国之一,2025年进口81.47万吨,金额16.1亿元人民币。该品种据前三位的进口国分别为沙特阿拉伯、阿曼和阿联酋。

农产品方面,伊朗是我国开心果的第一大进口国,2025年共计进口1.94万吨,金额9.35亿元人民币。

值得注意的是,除伊朗外,美国是我国第二大开心果进口国,2025年进口1.89万吨,金额9.92亿元人民币。
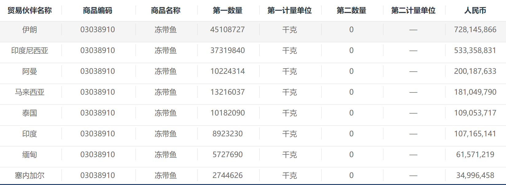
另一大重要进口产品则是冻带鱼,2025年我国共向伊朗进口冻带鱼4.51万吨,进口金额7.28亿元人民币。进口数量和金额均为第一。



